OUR PRODUCTS

一、概述
HNB(HNB-ZK)型耐酸陶瓷泵是单吸单级离心泵,泵体和泵盖采用耐腐、耐磨性优良的耐酸陶瓷制造,外用铸铁铠装以资保护。叶轮材质主要为工程塑料,如用户需要,也为其配制工程陶瓷。轴封结构为动力密封和机械密封。
该泵具有耐腐蚀、耐磨损、耐高温、维修方便、使用可靠等优点,适用于输送热浓碱液以外的,含有悬浮固体颗粒的各种腐蚀性介质。使用温度低于100℃,(工程塑料叶轮的使用温度视材质和介质不同而定),温度小于50℃,广泛应用于矿山、有色金属冶炼、钛白-粉、稀土、石油、化工、化纤、化肥、农药、染料及高磷土非金属原料提炼等行业中。
二、型号义说明
三、标准性能表
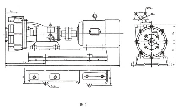
四、外形及安装尺寸
五、搬运和安装
1、搬运时应以泵底座为起重着力部位,轻起轻放,避免震动,撞击。
2、基础要求平整,泵安装应低于液源液面,或尽量靠近液源,吸入高度应在该泵气蚀余量允许的范围内。
3、管路的重量不能负荷在泵上,应另设支架支撑。
4、管路的口径不应小于泵的进出口直径,进口管路应水平无拱曲,确保灌注引液时能排净空气。
5、管路与泵应平整连接,泵的陶瓷平面应用软质垫床,不能用撬棒,螺栓强行对位紧固,连接螺栓不能过长,紧固时要均匀受力,不能过紧,以不泄漏为宜。
6、应避免螺母、垫圈、焊渣等杂物遗留在管路或泵内,以免发生故障。
7、根据泵铭牌所示,若自出厂日期使用时超过三个月,为安全起见,应先拆下泵盖,用专用扳手将叶轮螺母、轴螺母重行拧紧,紧固力相当于扭手扳手45-50Nm(大泵取大值,轴端螺纹与泵旋转方向相反)。
六、泵的使用
1、每次开泵前应用手盘动联轴器,检查转动是否正常。
2、泵必须在进液管及泵内注满引液,排净空气后方能正常运行。
3、泵内未灌注引液或出口无流量时,不能长时间空转。
4、开泵步骤
(1)开启进口阀,灌注引液,排净空气。
(2)起动电机使泵运转,同时开启出口阀。
5、停泵步骤
(1)关闭出口阀,同时停止电机运转。
(2)关闭进口阀。
6、不能以进口阀调节泵流量,以免引起气蚀。
7、轴承润滑若改用润滑油,则存油不低于油面视镜中心线,润滑油(脂)均应定期更换。
8、天寒地区,停泵后应防止泵体内冰冻。
9、在液源面低于泵进口中心线的情况下,若因油封口磨损而导致泵无法正常起动,可将轴封尾端后一只油封的后一只油封反向安装,(即唇口向后),为防止轴封处空气进入泵内,保证泵正常运转。
七、拆卸和组装
耐酸陶瓷属脆性材料,在拆装过程中,应避免敲打撞击,零部件应轻拿轻放。(参见图表、图2)
1、 拆卸
(1)拆下泵盖,用水冲洗泵体内部。
(2)专用扳手拆下轴螺母,叶轮螺母。
(3)取出叶轮,键及叶轮垫圈。
(4)装有付叶轮的泵,可利用拆卸螺孔先将填料箱与泵体脱开,再拆卸泵体,注意平行移出,不要碰撞。
(5) 拆卸付叶轮及全部轴封零件。
2、 组装
(1)将零部件清洗、擦净,如有开裂、磨损、硬化变形,则应更换新的。
(2)按拆卸的相反顺序进行组装。
(3)冷却罩与泵体连接时,螺栓不能过长或过紧,应均匀紧固,以不泄漏即可。
(4)组装轴套时应慢慢旋转装进,避免损坏油封唇口。
(5)陶瓷叶轮(付叶轮)的键与键槽均匀间隙配合。
(6)安装叶轮和泵盖的同时,用手盘动联轴器,如有擦碰现象,可加软垫调整。
(7)组装叶轮时应先将两个圆螺母推后,以保证轴螺母紧固时,叶轮毂端面紧贴在主轴台肩上,然后再将圆螺母连同轴套向前拼紧。
八、常见故障原因
1、 泵不出液或流量、扬程明显不符。
(1)泵体或进口管道内空气未排净。
(2)泵盖或进口管道连接处漏气。
(3)进出口管径太小、太长、阻塞或阀门失灵。
(4)吸入或压出高度太高。
(5)轴封处漏气。
(6)电动机转向,转速不对或介质粘度过大。
2、 泵振动和噪音异常
(1)基础不平或螺栓松动。
(2)泵轴与电机不同轴。
(3)支撑管道的支架不稳固。
(4)泵有气蚀现象。
3、 轴封处发热、冒气或严重泄漏。
(1)橡胶油封唇口磨损。
(2)轴封零件安装不正确。
(3)出口压力过大。
